from 01.01.2000 until now
Penza, Penza, Russian Federation
from 01.01.2014 until now
Penza, Penza, Russian Federation
CSCSTI 67.01
CSCSTI 67.11
CSCSTI 67.21
Russian Classification of Professions by Education 270000
Russian Library and Bibliographic Classification 38
Russian Library and Bibliographic Classification 382
Russian Library and Bibliographic Classification 385
Russian Library and Bibliographic Classification 308
BISAC ARC000000 General
Summarized the experience of reconstruction of buildings, taking into account the superstructure. During the construction of a residential house, the possibility of adding it to another floor was investigated. A full-scale survey of the soil condition of the foundation and building structures of the constructed part of the building was carried out. Foundation soils were selected under the foundations of the building to determine the basic physicomechanical characteristics. Soil samples were tested in the laboratory of soil mechanics of the Penza GUAS. According to test data, the bearing capacity (design resistance) of the base soils was calculated. The calculation of the monolithic reinforced concrete belt. The main conclusions and recommendations are made.
superstructure, the study of raw materials, visual inspection, sampling, carrying capacity of soils, calibration calculations, technical conclusion
Надстройка - это увеличение сооружения целиком или некоторых его частей в связи с поменявшимися условиями эксплуатации или в соответствии с нормами градостроительства. Одной из распространенных видов надстроек является продление сооружения в высоту с сохранением присущего ему внутреннего устройства, габаритных размеров, несущего стенового или иного каркаса [1, 2].
Известно, что практически все без исключения здания и сооружения традиционной постройки выше двух этажей можно надстроить на один-два этажа, учитывая состояние грунтов основания, фундаментных и надфундаментных конструкций. Также можно повышать высотность зданий, уже надстроенные десять лет назад и более на один-два этажа. Такие надстройки возможны вследствие консолидации грунта основания в процессе эксплуатации здания, при удовлетворительном состоянии фундаментных конструкций и запасах прочности в стенах и опорах [3, 4, 5].
Цель работы: исследование целесообразности надстройки строящегося жилого дома по ул. Фрунзе г. Сердобска еще на один этаж.
Материалы и методы при проведении обследования:
-задание администрации Сердобских районных электрических сетей;
- натурное обследование грунтов основания строительной площадки и строительных конструкций построенной части здания;
- отбор образцов грунтов из шурфов под фундаментами здания для определения основных показателей грунта;
- поверочные расчеты несущей способности основания;
- расчет монолитного железобетонного пояса.
Характеристика объекта.
Произведено натурное обследование состояния грунтов основания и надфундаментных конструкций. Установлено, что жилой дом многосекционного типа, спроектированный по блок-секционному принципу, возводится из кирпича со стенами толщиной 55 см. Перекрытия железобетонные. На момент обследования заканчивалось возведение 4 этажа здания. Визуальным осмотром видимых нарушений целостности строительных конструкций не зафиксировано. На день обследования в пониженном месте подвала здания скопилось некоторое количество воды, фундаменты и строительные конструкции находят в хорошем состоянии.
Определение физико-механических характеристик грунтов.
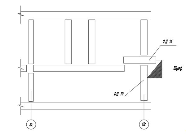
Для определения показателей грунтов основания были отобраны образцы грунта из шурфа, отрытого до глубины заложения подошвы фундаментов возле стены по оси 11с (рис.1).
Глубина заложения подошвы фундамента по проекту и фактически в среднем составляет 2,0 м. Грунтами основания служат суглинки тугопластичные и мягкопластичные. При отрывке шурфа на глубину более 2,0 м появились грунтовые воды.


Рис. 1. Схема расположения шурфа и сечение фундамента
Определение природной влажности грунта. Природная влажность грунта определялась по [6] весовым методом. Всего было отобрано 7 образцов грунта. Результаты испытаний представлены в табл. 1.
Определение природной влажности грунта Таблица 1.
|
№ бюкса |
Масса пустого блока, г |
Масса бюкса с влажным грунтом, г |
Масса бюкса с сухим грунтом, г |
Природная влажность, % |
Среднее значение влажности, % |
|
110 126 129 139 141 149 150 |
21,10 21,30 22,10 22,10 22,60 21,30 20,70 |
62,56 54,85 55,72 63,95 53,95 48,90 54,80 |
57,40 49,30 49,60 57,00 48,80 44,20 49,00 |
19.6 19.8 22.3 19.9 19.7 20.7 20.5 |
20.4 |
Нормативное значение влажности равно 20,4 %.
Определение плотности грунта. Плотность грунта определялась по [6] методом режущего кольца. Всего было отобрано 9 образцов грунта. Результаты испытаний представлены в табл.2.
Определение плотности грунта Таблица 2
|
№ бюкса |
Масса кольца, г |
Масса кольца с грунтом, г |
Масса грунта, г |
Объем кольца, см3 |
Плотность, г/см3 |
Среднее значение плотности, г/см3 |
|
14 19 7 3 13 15 9 4 16 |
43,10 43,40 42,25 40,60 40,80 43,30 41,00 41,70 42,00 |
150,50 147,00 146,00 142,00 148,00 148,10 147,00 149,80 145,00 |
107,40 103,60 103,70 101,40 107,20 104,70 106,00 108,20 103,00 |
50,0 |
2,15 2,07 2,07 2,03 2,14 2,09 2,12 2,16 2,06 |
2,10 |
Нормативное значение плотности грунта в природном состоянии равно 2,10 г/см3 .
Плотность минеральных частиц. Для конкретной разновидности грунтов плотность минеральных частиц меняется в очень незначительном интервале, нами не определялась, взята из отчета по инженерно-геологическим изысканиям Пензенского ТИСИЗ по данному объекту, равной 2,71 г/см3 .
Коэффициент пористости. Коэффициент пористости рассчитывается по известным характеристикам, определенным выше, по формуле:
,
- плотность минеральных частиц,
-природная плотность
-природная влажность.
=2,71 г/см3 ; ρ=2, 10 г/см3 ;
=20,4%
Тогда коэффициент пористости будет равен:
,
Пористость грунта. Пористость грунта рассчитывается по формуле:

Пористость грунта равна 35,5%
Плотность сухого грунта. Плотность сухого грунта рассчитывается по формуле:
Полученные значения коэффициента пористости, пористости и плотности сухого грунта говорят о том, что грунт в природном состоянии находится в достаточно плотном состоянии.
Определение прочностных характеристик. Прочностные характеристики грунта определялись путем испытания грунта на сдвиг в срезном приборе. Всего было отобрано и испытано 9 образцов. Испытания ввелись по методике быстрого среза [7], что дает несколько заниженные значения прочностных характеристик. Результаты испытания следующие:
Результаты испытаний грунта в сдвиговом приборе Таблица 3.
|
нормальное (уплотняющее) давление |
касательное (сдвигающее) давление |
|
1,0 |
0,70 |
|
2,0 |
1,10 |
|
3,0 |
1,30 |
|
0,5 |
0,35 |
|
1,5 |
0,90 |
|
2,5 |
1,20 |
|
2,0 |
1,10 |
|
3,0 |
1,25 |
|
1,0 |
0,60 |
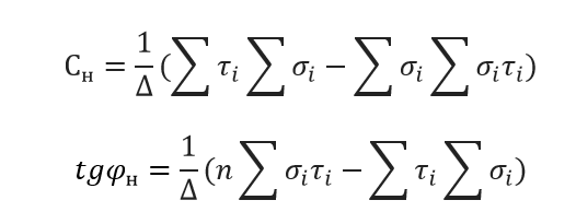
Количество образцов грунта, испытанных на сдвиг, достаточно для статической обработки результатов испытаний. Нормативные значения прочностных характеристик по методу наименьших квадратов находят по формулам:
где n - число экспериментов по определению сопротивления грунтов сдвигу
Общий знаменатель определяется по формуле

По результатам испытания получены следующие прочностные характеристики:
-угол внутреннего трения
-удельное сцепление
Обобщенный график сопротивления грунтов сдвигу приведен на рис. 2.
Рис. 2. Обобщенный график сопротивления грунтов сдвигу
Определение расчетного сопротивления грунта основания.
Основанием фундаментов жилого дома служат суглинки тугопластичные с показателем текучести IL=0,42. По результатам наших испытаний имеем следующие прочностные характеристики:
-угол внутреннего трения
-удельное сцепление
-природная плотность
=2,1 г/см3.`
Определим фактическое расчетное сопротивление грунтов основания в соответствии с требованиями норм проектирования естественных оснований [8]. Расчетное сопротивление грунта определяется по формуле:
,

Расчетное сопротивление грунта будет равно:

Расчет фундаментов
Расчет фундаментов в соответствии с [9] производится из условия проверки напряжений по подошве. При подборе размеров подошвы должно соблюдаться условие, чтобы среднее давление по подошве от действующих нагрузок не превышало расчетного сопротивления грунта основания.
Произведем сбор нагрузок, действующих на наиболее нагруженный фундамент с учетом надстройки здания еще на один этаж. По типовому проекту максимальные нагрузки на стены на отметке -2.740 (верх фундаментных подушек) по сечениям 1-1 и 6-6 составляют соответственно 27,70 и 38,50 тс/м.
При надстройке на этаж добавляются следующие нагрузки (табл.4 ).
Нагрузки с учетом надстройки Таблица 4
|
№ п/п |
Наименование нагрузок |
Нормативная нагрузка, кгс/ м2 |
|
1 |
междуэтажные перекрытие |
380,0 |
|
2 |
кирпичные столбики с лагами |
65,0 |
|
3 |
деревянные полы δ=27 мм |
22,0 |
|
4 |
гипсобетонные перегородки |
130,0 |
|
5 |
полезные нагрузки по СНИП [] |
150,0 |
|
|
ИТОГО |
747,0 |
Добавим сюда:
|
№ п/п |
Наименование нагрузок |
Нормативная нагрузка, кгс/ м2 |
|
6 |
вес стены толщиной 550 мм, высотой 3,0 м с учетом проемности 15.0% |
2520 |
|
7 |
фундаментная подушка ФЛ16-24 |
1099 |
|
8 |
фундаментная подушка ФЛ12-24 |
680 |
Грузовая площадь (с запасом) сечение 6-6
равна 5,7 м2 .
Дополнительная нагрузка на фундамент составит:
![]()
Полная нагрузка на фундамент составит:
cечение 1-1 27,70+7,82=35,52 тс/м ,
cечение 6-6 38,50+7,82=46,32 тс/м ,
В проекте фундаменты рассчитаны на условное сопротивление грунта Ru=2,5 кгс/м2 =250 кПа. При таком сопротивлении ширина подошвы фундаментов должна быть :

Таким образом, исходя из условного расчетного сопротивления грунта в 2,5 кгс/см2 = 25,0 тс/м2= 250 кПа, ширина подошвы существующих фундаментов оказывается недостаточной.
По фактическим прочностным характеристикам грунта, полученным по лабораторным исследованиям (наши результаты достаточно хорошо согласуется с данными инженерно-геологических исследований, выполненных Пензенским трестом инженерно-строительных изысканий) расчетное сопротивление грунта равно 361 кПа. Тогда требуемая ширина подошвы фундаментов с учетом надстройки здания еще на один этаж будет равна:
сечение 1-1:
сечение 6-6:
Существующие размеры подошвы фундаментов достаточны без усиления для надстройки здания жилого дома еще на один этаж.
Расчет монолитного железобетонного пояса
Монолитные железобетонные пояса служат для восприятия растягивающих напряжений, возникающих вследствие неравномерных осадок грунтов основания (прогиб или выгиб сооружения), а также для придания зданию большей общей жесткости. Подбор необходимого поперечного сечения арматуры в поясе ввиду слабой изученности взаимного влияния сооружения и грунта на их общие деформации ведется по приближенной методике.
В первом приближении задаются величиной искривления стены. Если стена длиной L изогнется с прогибом, то обозначив отношение прогиба f к длине стены L через k по формулам чистого изгиба изгибающий момент определяется как
Предельный относительный прогиб или выгиб здания можно взять по указаниям [8]. Для зданий и сооружений, где применены монолитные железобетонные пояса эта величина равна 0,0024. Высота стены до пояса около 16 м, ширина - 0,55 м. Момент инерции кладки равен 1/12×0,55×163=1865 м4. Модуль деформации кладки из кирпича марки 75 равен 60000 тс/м2 . Тогда изгибающий момент будет равен

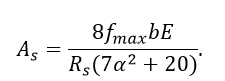
Коэффициент 0,3 учитывает развитие деформаций ползучести во времени, а коэффициент 0,5- предельную величину изгиба или прогиба здания. Тогда площадь арматуры будет равна:
Более точно количество арматуры можно определить по методу проф. Б.И.Далматова. Как известно, грунт под влиянием внешней нагрузки под фундаментом деформируется. Вследствие жёсткости стены деформация грунта будет частично выравниваться, что приведет к перераспределению реактивного давления грунта. Это перераспределение в свою очередь будет обуславливать величину наибольшего изгибающего момента. Следовательно, если найти значение неуравновешенно нагрузки по ожидаемому уменьшению прогиба стены за счет работы ее на изгиб, то можно определить и величину максимального изгибающего момента, а по нему определить площадь арматуры.
Величина максимального прогиба, на которую уменьшится величина неравномерности осадок основания, может быть найдена по следующему выражению:
,
где n- доля неравномерности осадок, нарастающей в период постройки здания до отвердения раствора.
-относительная неравномерность осадок.
-функция, зависящая от отношения длины стены к высоте.
В нашем случае можно принять n = 0,5 ,
, стены L=30,0 м,
.
Тогда
Площадь арматуры в данном случае определяется по формуле:
Площадь арматуры равна:
В формуле 10-2 - переводной коэффициент для f max из см в м.
-расчетное сопротивление арматуры в тс/м2.
Возьмем количество арматуры среднее из двух произведенных расчетов, то есть в пределах 8,0-10,0 см2.
Рекомендуем монолитный железобетонный пояс устроить в уровне опирания перекрытий 4 этажа (см. рис.3) размером 250х150 мм. Бетон класса не ниже В15 (марка 200). Арматура - 8 стержней (по 4 стержня в верхней и нижней зонах) диаметром 12 мм с площадью арматуры 9,05 см2 .
Рис. 3. Монолитный железобетонный пояс
Основные выводы и рекомендации:
1. Выполненные испытания грунтов на прочность, поверочные расчеты, натурное обследование состояния грунтов основания и строительных конструкций жилого дома в г. Сердобск показывают, что надстройка здания еще на один этаж возможна и целесообразна.
2. Для придания общей жёсткости зданию и восприятия неравномерных осадок основания рекомендуем устройство монолитного железобетонного пояса (см. рис.3) по периметру всех стен.
3. Для исключения попадания воды в подвал здания необходимо произвести ревизию инженерных коммуникаций и устранить протечки водопровода и канализации, других систем. При невозможности – установить насос.
4. Вокруг здания предусмотреть отмостку шириной не менее 1,0 м с уклоном от здания не менее 3,0 %.
1. Khalturin Yu.V., Khalturin A.Yu. Problems of reconstruction of buildings through add-ons. Bulletin of the Altai State Technical University. I.I. Polzunov. 2006. No. 1. S. 55-58.
2. Ivanko A.A., Kleveko V.I. Reconstruction of the building by adding a penthouse and installing a mezzanine floor. Modern technology in construction. Theory and practice. 2018. T. 1. S. 281-287.
3. Chichkin A.F., Khryanina O.V. Reconstruction of the structure through redevelopment and superstructure. Modeling and Mechanics of Structures. 2016. №3. Systems Requirements: Adobe Acrobat Reader. URL: http://mechanics.pguas.ru/Plone/nomera-zhurnala/no3/stroitelnye-konstrukcii-zdaniya-i-sooruzheniya/3.18/at_download/file.
4. Konovalov P.A., Konovalov V.P. Foundations and foundations of the reconstructed buildings: monogr. - M .: Publishing house DIA, 2011. - 384 p.
5. Khryanina O.V. Scientific and technical expertise: the possibility of a superstructure of non-residential premises of a substation. Journal of Technical Studies. 2018. Vol. 4. No. 3. S. 19-28.
6. GOST 5180-2015. Soils. Methods of laboratory determination of physical characteristics. Introduction date 2016-04-01.
7. GOST 12248-2010. Soils. Laboratory methods for determining the characteristics of strength and deformability. Update: 05.05.2017.
8. SP 22.13330.2016 Grounds of buildings and structures. Updated version of SNiP 2.02.01-83*.
9. Chichkin A.F., Kuznetsov A.N., Khryanina O.V. Calculation of the grounds and design foundations. Tutorial: Penza, PGUAS, 2012.



