Russian Federation
Novocherkassk, Rostov-on-Don, Russian Federation
Novocherkassk, Russian Federation
The article discusses the design features of sliding gates, reviewed patents from 1983 to the present, analyzed the recommendation methods for calculating cantilever sliding gates. It is established that the designs of sliding gates for long-term trouble-free operation must meet the requirements for the first and second group of limiting conditions for gates as a building structure, specific requirements for the operation of structures (reduced deflections, roll and bends), the minimum weight of the movable part of the gate for the use of an opening mechanism of lower power.
sliding gates, cantilever gates, methods for calculating sliding gates, patents for sliding gates
С ростом технологий в стране увеличивается запрос в более технологичных входных группах, таких как откатные ворота на электроприводе. Подобные конструкции уже не роскошь для передовых компаний, а техническая и экономическая необходимость.
Это не просто удобство прохода для техники нестандартных габаритов, увеличение полезной площади производств, облегчение обеспечения безопасности объекта, но также и снижение трудозатрат. Откатные ворота эстетически предают объекту современность, возможность встраивания в автоматизацию процессов на объекте.
Различают несколько вариантов устройства откатных ворот:
- подвесные (рис. 1),
- рельсовые (рис. 2),
- консольные (рис. 3).
Подвесные ворота представляют собой воротное полотно, по верху которого прикреплены роликовые тележки. Металлическая несущая балка, на которую монтируются ролики, установлена над проемом. Нижняя часть полотна остается без опор [1].
Положительными сторонами устройства откатных ворот подобного типа являются: стойкость к взлому и воздействию потоков воды на опорные конструкции, малая парусность конструкции.
Основным недостатком данной конструкций является то, что она непременима для крупногабаритной и высокой техники.

Рисунок 1. Конструкция подвесных откатных ворот: 1 – роликовые опоры, 2 – подвесная балка
Рельсовые откатные ворота устроены иначе: ролики установлены на рельсе, который проходит ниже уровня покрытия.
Плюсы данной технологии заключаются в том, что в ворота может проехать техника различных габаритов, ширина проема может быть значительной, так как дверное полотно не провисает.
Минусы подобных откатных ворот связаны с низким положением рельса относительно уровня земли: рельсы могут забиваться мусором и грунтом, заливаться водой от атмосферных осадков [2]. Особенно сложно использовать рельсовые ворота в регионах с теплыми зимами, так как подтаявший днем снег в виде воды затекает к рельсу, и, замерзая ночью, полностью блокирует ход механизма.

Рисунок 2. Конструкция рельсовых откатных ворот: 1- монорельс, 2 – ролики
Откатные ворота консольного типа минимизируют недостатки предыдущих двух видов ворот. Данная конструкция представляет из себя раму, которая устанавливается на фундамент, консольную (несущую) балку и воротное полотно. На раму благодаря прикрепленным к ней роликам закатывается балка, а на балку навешивают воротное полотно [3].
Конструкция не перекрывает въезд ни в одном из горизонтальных уровней (поверху или понизу), к поднятым над поверхностью роликам нет доступа воде и мусору.
Минусом данной конструкции является более сложный монтаж и то, что ворота занимают места в 1,5 раза больше, чем ширина проема для установки консольной балки.

Рисунок 3. Конструкция консольных откатных ворот: 1 – рама, 2 – фундамент для консольной балки, 3 – консольные блоки; 4 – направляющая балка, 5 – уловитель
Разработка новых, более совершенных видов и типов откатных ворот ведется в России непрерывно с 1980х годов.
Так, одни из первых авторских свидетельств (номер свидетельства: SU 1353883 и SU 1153035 A1) на устройство для передвижения ворот с перематывающей лебедкой с реверсивным приводом и гибкой тягой, запасованной в полиспасты были получены в 1983г. и в 1985 г. [4, 5].
Подобное устройство для пролетов большей длины было зарегистрировано в 1989 г. (номер свидетельства: SU 1677220 A1), [6].
Улучшения конструкции ворот дополнительными поворотными ходовыми тележками (Номер свидетельства: SU 1799976 A1), являющимися холостыми, установленными на верхних сторонах секций, запатентовано в 1990г. [7].
В последние годы интерес к патентованию конструкций откатных ворот в России повысился, так как увеличилось число игроков на рынке производства и установки откатных ворот.
Если на заре своего развития откатные автоматические ворота применялись в основном в промышленном строительстве, то сейчас возрос спрос на данные конструкции и в частном домостроении. В связи с этим в последнее десятилетие появились следующие запатентованные конструкции (приведены некоторые из них):
- Ворота состоят из опоры, привода, направляющих, пульта дистанционного управления, элементов безопасности, систем запирания, дренажных, водоотводных систем и двух полотен, которые скреплены под углом 90° (номер патента: RU 51391 U1 ) [8];
- Конструкция створки ворот выполнена в виде фермы. Стальные листы являются заполнением створки ворот. По всей длине к нижнему поясу фермы крепится направляющая открытого П-образного сечения, а также зубчатая рейка, приводимая в движение шестерней, установленной на выходном валу привода створки ворот. Створка имеет четыре точки крепления (номер патента: RU 2694376 C1), рис. 4 [9].

Рисунок 4. Запатентованная модель откатных ворот, номер патента: RU 2694376 C1
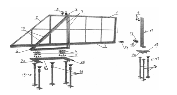
- Рамные консольные ворота на винтовых сваях (Номер патента: RU 146285 U1), рис. 5 [10]

Рисунок 5. Рамные консольные ворота на винтовых сваях: 1 – створка, 3 – направляющая, 4 – ролики, 5 – основание под ролики; 6 – несущая опора, 7 – стойка; 8 – крепление роликов, 9 – ролики, 10 – наклонная балка, 11- опора ловителя, 12 – ролик ловителя, 13 – опора под ролик ловителя; 16 – винтовые сваи, 18, 19, 20 – продольные полки основания.
При расчете ворот по первой группе предельных состояний [11] применяют следующую расчетную схему для консольных ворот (рис.6 а, б)

а)

б)
Рисунок 6. Расчетная схема для расчета откатных консольных ворот
где:
Р – общий вес створки откатных ворот, кг,
РТ – предполагаемый вес технологической части ворот за пределами створа ворот, кг,
F1 – весовая нагрузка, действующая на роликовую опору, кг,
F2 – рекреационная нагрузка, действующая на роликовую опору, кг,
L – длина створки ворот, м,
А – ширина проема ворот, м,
I – минимальное расстояние между центрами кареток, м,
а, b, с, d – технологические отсупы, м.
Длина откатных ворот равна:

Минимально допустимое расстояние между центрами опор:

При этом на практике изготавливаемые разными организациями ворота не способны нормально функционировать требуемое число циклов отпирания, сильно подвержены внешним факторам (ветровая нагрузка оледенение и т. п.).
Это связано в большей степени с тем, что на сегодняшний день не существует принятых норм расчета для откатных ворот. Для определения размеров поперечного сечения используют первую группу предельных состояний, учитывая прочность материалов. Хотя основным требованием для таких конструкций является их возможность нормальной эксплуатации, то есть прогибы и крены балок и направляющих, выход направляющих и ворот из плоскости, потеря устойчивости ворот при сильных ветровых и гололедных воздействиях.
К тому же, так как откатные ворота не стационарная конструкция, а механизм, следует учесть и мощность лебедки, которая осуществляет движение ворот. Так, нельзя просто масштабировать типовые ворота на больший пролет, так как при увеличении массы ворот неизбежно потребуется увеличение мощности механизма. Таким образом, задача по определению поперечного сечения и механизма ворот переходит в оптимизационную область, при которой наилучшее решение должно удовлетворять:
- требованиям по первой и второй группе предельных состояний к воротам, как к строительной конструкции,
- специфическим требованиям для осуществления эксплуатации конструкций (уменьшенные прогибы, крену и изгибы),
- минимальному весу подвижной части ворот для использования открывающего механизма меньшей мощности.
1. Radchenko M. V., Savinov V. I., CHeremisin P. S. Sovremennye konstrukcii avtomatizirovannyh vorot zhilishchnogo i promyshlennogo naznacheniya //Polzunovskij al'manah. - 2004. - №. 3. - S. 33-36.
2. Dolzhenkov S. YU. Bezoshibochnyj vybor v pol'zu estetiki //Algoritm bezopasnosti. - 2016. - №. 3. - S. 48-49.
3. Rashchupkina S. Zabory, ogrady, kalitki i vorota na dachnom uchastke. - Litres, 2020.
4. Glebochkin V. I., Pogorelov V. I. Otkatnye vorota. - 1985.
5. Aron I. V., Smirnov S. P., CHernyak M. D. Ustrojstvo dlya peremeshcheniya otkatnyh vorot. - 1987.
6. Veretennikov V. P. Otkatnye vorota. - 1991.
7. Alimov A. I., Goremykin B. V. Otkatnye vorota dlya bol'shih proemov. - 1993.
8. Kovalev V. G. i dr. Vorota. - 2006.
9. Kodorov A. A. i dr. Protivotarannye otkatnye vorota. - 2019.
10. Shchennikov D. I. Otkatnye vorota. - 2014.
11. Metodika rascheta otkatnyh vorot OOO «ROLTEK» [Elektronnyj resurs], 2003 g. URL: https://www.rolls.ru/technical/rekomendatsii/, (data obrashcheniya 11.08.2021)




