Novocherkassk, Rostov-on-Don, Russian Federation
The author considers the main methods of fire protection for residential and public buildings and structures. The efficiency of metal structures is analyzed, the latest methods of corrosion and fire protection of metal structures are selected. For the plastering, cladding and coating methods, a table of the required thickness in relation to the fire resistance limits was compiled. Based on this table, graphical and empirical dependences for the 30k1 I-beam column are constructed, showing the dependence of temperature on time and the limits of fire resistance on the reduced coating thickness. According to the graphic data, the most economical method of fire protection was chosen, but the resulting deflections exceed the limit according to current standards.
safety of metal structures, metal structures, fire protection
Металлические конструкции являются важнейшим и лидирующим материалом, выгодно отличающим себя от прочих строительных элементов. Применение стали уже давно известно в различных областях жизнедеятельности человека, повышает качество среды жизни, что соответствует Указу Президента и Постановлению Правительства [1, 2].
Использование его для возведения несущих и ограждающих элементов зданий и сооружений позволило специалистам строительной индустрии проектировать высокие многоэтажные жилые комплексы [5].
Однако при большем количестве положительных свойств в использовании стального каркаса в промышленном или гражданском строительстве, есть и два существенных недостатка: сопротивляемость пожарам и их стойкость к коррозийному воздействию. Ниже приведены группы для коррозийной защиты. Существующие расчетные положения также должны учитывать данные факторы.
Существуют несколько групп конструкций с необходимой коррозийной защитой:
- I группа–защита устанавливается на этапах проектирования и изготовления конструкций;
- II группа – условие, в котором технологических показателей антикоррозийной защиты конструкции недостаточно;
- специальная – в том случае, если методы I и II группы не выполняются.
Наиболее распространенным методом уменьшения коррозийного износа является покрытие элементов лакокрасочными материалами. Выбор необходимой краски или лака осуществляется по выявлению атмосферной влажности и влияния агрессивных сред и газов [3].
К особенностям выбора краски или лака по выявлению атмосферной влажности относится:
- температура воздуха;
- температура окрашиваемой поверхности;
- влажность воздуха;
- увлажнение поверхности.
Влага, сконденсированная на поверхности, может привести к нежелательным последствиям:
- вызвать коррозию металла;
- нарушить смачиваемость поверхности лакокрасочным материалом;
- уменьшить сцепление лакокрасочного покрытия с окрашиваемой поверхностью;
- вызвать образование в лакокрасочной пленке дефектов (пор, кратеров, сморщивания).
Для повышения устойчивости пожару существует два основополагающих метода огнезащиты - сухой и влажный, которые обосновывают выбор способа построения защиты.
К достоинствам сухих технологий огнезащиты является выполнение работ в любое время года, а также в условиях, когда по каким либо технологическим или иным причинам применение мокрых технологий является недопустимым. Сухие технологии являются более трудоемкими, а выполнение огнезащиты на конструкциях сложной пространственной формы, например, балках и фермах является трудно решаемой технологической задачей. Некоторые материалы можно отнести условно к сухим, например, плитные или рулонные материалы, они могут крепиться мастиками или клеями, либо комбинированным мокро-сухим способом и, впоследствии, оштукатуриваться перед чистовой отделкой. При проектировании стальных колонн учитывают следующие требования: минимизация расхода стали; скорость установки; однотипность параметров; минимизация расход ресурсов при изготовлении; простота и надежность стыковых соединений; небольшая прилегающая площадь на фундаменте; простые узлы и переходы.
Влажная огнезащита может выполняться в теплое время года. Обкладка кирпичом является трудоемким и медленным процессом, поэтому может выполняться при малых объемах огнезащитных работ. Наиболее технологичным и применяемым процессом является оштукатуривание защитных конструкций методом торкретирования. Данный метод позволяет создавать огнезащитные покрытия, точно повторяющие форму защищаемой строительной конструкции. Покрытия, используемые этим методом, могут быть подвергнуты финишной обработке или окраске для придания водостойкости, а также для стойкости к агрессивным средам.
Приведенные выше способы огнезащиты основаны на замедлении прогрева металла за счет создания препятствий поступающему тепловому потоку, которые подробно освещены ниже [4].
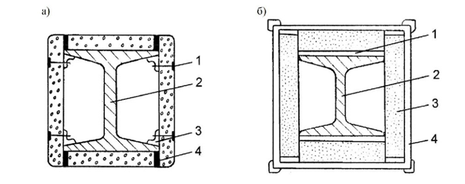
Существуют несколько способов огнезащиты: сухая и влажная защита; штукатурка; обетонирование; краски; инумесцентные составы (вспучивающиеся шпаклевки с толщиной более 3 мм); конструктивная огнезащита (рис. 1). Нами предусмотрено использование в строительных конструкциях различных красок и приведенные ниже условия их применения [3].

Рис. 1. Способы конструктивной огнезащиты:
а) плитами из ячеистого бетона; 1 – болт; 2 – колонна; 3 – приваренный уголок;
4 - цементный раствор; б) вермикулитовыми плитами: 1 – клей; 2 – колонна;
3 – вермикулитовая плита; 4 – алюминиевый лист
Разрушение стали без поверхностного покрытия начинает формироваться с поверхности металлического элемента.
Существует несколько типов коррозии: сплошная; местная; межкристаллитной или интеркристаллитной [5].
В зависимости от внешних воздействий коррозию подразделяют на: химическую (газовую); жидкостно-химическую; электрохимическую.
Ниже представлены способы и методы антикоррозийного покрытия и огнезащиты (рис. 2).


![]()
Рис. 2. Действие вспучивающегося огнезащитного покрытия
а) конструкция до пожара; б) конструкция после пожара
В настоящее время для огнезащиты используют следующие лакокрасочные покрытия: Термобарьер; Джокер; Джокер М; Джокер АЭС; Джокер 521; Лидер; Уникум; Монокот Крилак; ОФП-НВ «Эскалибур»; Миропан-ПРО-Металл; Миронит-Металл. Ниже представлены описания их применений.
Огнезащитная краска «Термобарьер» разработана для снижения потери прочностных характеристик стальных колонн. Она применяется в промышленном и гражданском строительстве, и ее следует использовать только внутри помещений.
Главной особенностью данной краски является возможность работы практически при любых погодных условиях (температура окружающего воздуха от -30°С до +35°С, относительная влажность до 90%.).
К преимуществам ее можно отнести: компактность; независимость от атмосферных температурных перепадов; высокая скорость высыхания краски и др.
Краска, которая соответствует II, III, IV, V, VI, VII группам огнестойкости и обеспечивает предел огнестойкости металлоконструкций от 15 до 120 минут (R15, R30, R45, R60, R90, R120) [3, 4].
При определении противопожарной защиты используется понятие «приведенная толщина металла» (ПТМ). От которой зависят требуемые параметры обработки.
Fпр= S ·10/ P,
где: Fпр — приведенная толщина металла;
S — площадь поперечного сечения, в см;
P — обогреваемый периметр, в см.
Расчеты учитывают НПБ 236-97* и отображают зависимость толщины покрытия от приведенной толщины металла. Процедура расчета использует несколько формул, при этом учитываются параметры сечения детали – периметр.
При определении противопожарной защиты используется понятие «приведенная толщина металла» (ПТМ). От него зависят требуемые параметры обработки, при этом исчисления учитывают НПБ 236-97* и отображают зависимость толщины покрытия от приведенной толщины металла. Процедура расчета использует несколько формул, учитывает параметры сечения детали – периметр. Ниже в таблице 1 представлены технические характеристики для расчета огнезащиты стальных колонн.
Таблица 1
Технические характеристики для расчета огнезащиты стальных колонн
|
Колонны (ГОСТ 26020 - 83)* |
||||
|
Сортамент |
Приведенная толщина ме талла |
Обогреваемы й периметр |
Площадь поверхности |
Площадь поверхности |
|
20К1 |
4,48768 |
1177 |
1,177 |
28,361 |
|
20К2 |
5,05076 |
1182 |
1,182 |
25,203 |
|
23К1 |
4,75071 |
1400 |
1,4 |
26,82 |
|
23К2 |
5,39672 |
1404 |
1,404 |
23,597 |
|
26К1 |
5,41591 |
1534 |
1,534 |
23,528 |
|
26К2 |
6,05917 |
1538 |
1,538 |
21,011 |
|
26К3 |
6,85881 |
1544 |
1,544 |
18,58 |
|
30К1 |
6,08794 |
1774 |
1,774 |
21,019 |
|
30К2 |
6,86242 |
1788 |
1,788 |
18,567 |
|
30К3 |
7,80642 |
1777 |
1,777 |
16,318 |
|
35К1 |
6,76186 |
2066 |
2,066 |
18,833 |
|
35К2 |
7,73385 |
2074 |
2,074 |
16,473 |
|
35К3 |
8,85096 |
2080 |
2,08 |
14,394 |
|
40К1 |
7,43655 |
2364 |
2,364 |
17,13 |
|
40К2 |
8,88627 |
2374 |
2,374 |
14,336 |
|
40К3 |
10,80469 |
2386 |
2,386 |
11,794 |
|
40К4 |
12,85833 |
2400 |
2,4 |
9,909 |
|
40К5 |
15,35596 |
2416 |
2,416 |
8,297 |
Пример расчета покрытия и ПМТ:
Исходные данные:
Двутавр 300(h) 300(b) 10(S) 11080(f).

Рис. 3. Параметры двутавра:
S – толщина стенки; h – высота двутавра; b – ширина полки
Марка стали сортамента 30К2; обогрев ведется с 4 сторон.
Производим расчет периметра двутавра:
P=2h+4b-2s=2*300+4*300-2*10=1780 мм. [13]


где, приведенная толщина металла (ПТМ)
F – площадь поперечного сечения,
P – обогреваемый периметр, тогда
δпр=11080/1780=6,22 мм.
Окончательные расчеты выполняются по ГОСТ 53295-2009, а расчет делают для критической температуры металла t+500 °C.
Используя графики и таблицы защитных составов, подставив которые, получают требуемую толщину СО для исчисленного ПТМ [13].
На основании имеющихся данных сортаментов колонных двутавров (Гост 26020 – 83*) и методов уменьшение скорости набора критической температуры стальной колонны, получается прослойки создания между зоной влияния огня и строительного элемента. Из таблицы 2 производится выбор метода огнезащиты.
Таблица 2
Методы огнезащиты
|
Метод огнезащиты |
Огнезащитный материал |
Средняя плотность кг/м3 |
Толщина огнезащитного материала, мм (При требуемых пределах огнестойкости, мин.) |
||||||
|
45 |
60 |
90 |
120 |
150 |
|||||
|
Облицовка |
Кирпич ША - 8 |
1800 |
65 |
65 |
65 |
65 |
120 |
||
|
Бетон |
2500 |
25 |
25 |
40 |
50 |
60 |
|||
|
Гипсокартон |
850 |
12 |
12 |
50 |
- |
- |
|||
|
Оштукатуривание |
Цементно-песчаная штукатурка |
1800 |
25 |
25 |
40 |
50 |
60 |
||
|
Перлитовая штукатурка |
500 |
15 |
15 |
30 |
40 |
50 |
|||
|
Нанесение покрытий |
Невспучивающиеся покрытие ОФП-МВ |
300 |
15 |
15 |
30 |
40 |
45 |
||
|
Вспучивающиеся покрытие ОЗС-МВ |
1230 |
8 |
8 |
24 |
32 |
- |
|||
В жилых и общественных зданиях для стальных конструкций рекомендуется применять только конструктивную огнезащиту без использования вспучивающихся компонентов. Вышеуказанные данные для облицовки усиливают массу конструкции, а также повышается долговечность конструкции и сопротивляемость воздействия влажности и динамическим нагрузкам (рис. 4).

При этом общая эмпирическая зависимость y = Ax2 + Bx+C где,
Эмпирическая зависимость для кирпича: y = 7,8571x2 - 36,143x + 98
Эмпирическая зависимость для бетона: y = 1,0714x2 + 3,0714x + 19
Эмпирическая зависимость для гипсокартона: y = 19x2 - 57x + 50

При этом общая эмпирическая зависимость
y = Ax2 + Bx + C,
где Эмпирическая зависимость для ША-8 y = -14,94x2 + 150,54x - 147,68

Эмпирическая зависимость для гипсокартона:
y = Ax2 + Bx+C,
где Ax2 = 0,0092; Bx=0,4924; С= 27,039
Использование минераловатых плит обусловлено их высокими показателями тепло-сохраняющих характеристики могут использоваться в организации огнезащиты конструкции, причем необходимо использовать декоративную облицовку, что дополнительно повышает огнестойкость на 25 минут на каждый слой. Ниже приведен график огнезащиты штукатурки и эмпирических зависимостей (рис. 7).

Общая эмпирическая зависимость y = Ax2 + Bx+C,
где эмпирическая зависимость для цемементно-песчанной штукартуки:
y = 1,0714x2 + 3,0714x + 19;
эмпирическая зависимость для перлитовой штукатурки:
y = 1,0714x2 + 3,0714x +9.
При применении невспучивающихся огнезащитных покрытий предел огнестойкости которых достигается при применении облегченной штукатурки (200 – 600 кг/м3), применение легких термостойких заполнителей.
Нанесение происходит по сетке вручную или механизированным способом, причем толщина покрытия от 15 до 50 мм способна обеспечивать предел огнестойкости от 0,75 до 2,5 часов.
Вспучивающиеся (терморасширяющиеся) огнеупорные краски или плиты, предпочтение отдается изделиям с использования вермикулитовых плит, состоящие из вулканического состава, а за счет их физико- механических свойств повышается теплоизоляция зданий.
Они используются по достижению температуры пожара при температуре более 200 0С, так как они начинают, расширяется, и создают термоизоляционный слой, превышающий и первоначальный объем в десятки раз. За счет этого огнестойкость конструкции повышается (рис. 8).

Общая эмпирическая зависимость y = Ax2 + Bx+C,
где эмпирическая зависимость для невспучивающегося покрытия:
y= 1,0714x2 + 3,0714x +6
эмпирическая зависимость для вспучивающегося покрытия: y=8,8x–4
Ниже приведена зависимость собственного предела огнестойкости металлоконструкции от приведенной толщины металла (табл. 3), а также график огнезащиты незащищенных металлических конструкций (рис. 9).
Таблица 3
Зависимость собственного предела огнестойкости металлоконструкции от приведенной толщины металла
|
Приведенная толщина, мм |
Предел огнестойкости, мин. |
|
3 |
5 |
|
5 |
9 |
|
10 |
15 |
|
15 |
18 |
|
20 |
21 |
|
30 |
27 |

Общая эмпирическая зависимость
y = Ax + B,
где Ax= 0,7749; B=5,1142.
При облицовывании кирпичом, бетоном или гипсокартоном, нагрузка от этих средств не передаётся на конструкции, на нанесение растворов и покрытий дополнительно загружает непосредственно сами балки и колонны, что может вызвать перемещения и прогибы. В качестве примера автором была смоделирована в программном комплексе SCAD 3 плоских рамы пролётами l=6, 12 и 24 м, а высота колонн h=6 м (табл. 4). При этом сечения конструкций, будут следующие: колонны - двутавр колонный 30К1; балки - двутавр широкополочный 20Ш1. Рассчитав массу состава на 1 м, стойки и балки рам загружаются полученной нагрузкой и выполняется расчет (табл.5). В каждом случае учитывают собственный вес конструкций.
Таблица 4
Расчет плоских рам пролетов
|
Средства |
Цементно-песчаная штукатурка |
Перлитовая плита |
Невспучивающиеся покрытие ОФП- МВ |
Вспучивающиеся покрытие ОЗС- МВ |
||||
|
Предел огнест., мин |
45 |
150 |
45 |
150 |
45 |
150 |
45 |
120 |
|
Пролёт 6 м |
-0,59 |
-1,08 |
-0,3 |
-0,44 |
-0,28 |
-0,35 |
-0,32 |
-0,55 |
|
Пролёт 12 м |
-8,26 |
-15,07 |
-4,2 |
-6,09 |
-3,88 |
-4,85 |
-4,45 |
-7,65 |
|
Пролёт 24 м |
-123,73 |
-225,89 |
-62,92 |
-91,33 |
-58,09 |
-72,68 |
-66,74 |
-114,59 |
Результаты расчёта показали, что на колонны нанесённые средства влияют минимально и деформации пренебрежительно малы. Большие прогибы возникают в горизонтальных балках, которые можно увидеть в таблице 6.
Ниже представлены расчеты нагрузки на конструкции (табл. 5).
Таблица 5
Нагрузка на конструкции
|
30к1 |
||||||||
|
|
Цементно-песчаный раствор |
Перлитовая плита |
Невспучивающиеся покрытие ОФП- МВ |
Вспучивающиеся покрытие ОЗС-МВ |
||||
|
Предел огнест., мин |
45 |
150 |
45 |
150 |
45 |
150 |
45 |
120 |
|
Площадь поверхн 1м, м2 |
1,774 |
1,774 |
1,774 |
1,774 |
1,774 |
1,774 |
1,774 |
1,774 |
|
Толщина мат, м |
0,025 |
0,06 |
0,015 |
0,05 |
0,015 |
0,045 |
0,008 |
0,032 |
|
Объём нанес. мат., м3 |
0,04435 |
0,10644 |
0,02661 |
0,0887 |
0,02661 |
0,07983 |
0,014192 |
0,056768 |
|
Плотность нанесения мат.,кг/м3 |
1800 |
1800 |
500 |
500 |
300 |
300 |
1230 |
1230 |
|
Масса мат., кг |
79,83 |
191,592 |
13,305 |
44,35 |
7,983 |
23,949 |
17,45616 |
69,82464 |
|
20Ш1 |
||||||||
|
Площадь поверхн 1м, м2 |
0,976 |
0,976 |
0,976 |
0,976 |
0,976 |
0,976 |
0,976 |
0,976 |
|
Толщ. мат, м |
0,025 |
0,06 |
0,015 |
0,05 |
0,015 |
0,045 |
0,008 |
0,032 |
|
Объём нанес. мат., м3 |
0,0244 |
0,05856 |
0,01464 |
0,0488 |
0,01464 |
0,04392 |
0,007808 |
0,031232 |
|
Плотность нанес. мат.,кг/м3 |
1800 |
1800 |
500 |
500 |
300 |
300 |
1230 |
1230 |
|
Масса мат., кг |
43,92 |
105,408 |
7,32 |
24,4 |
4,392 |
13,176 |
9,60384 |
38,41536 |
Таблица 6
Прогибы балок по оси Z
|
30к1 |
||||||||
|
|
Цементно-песчаный раствор |
Перлит |
Невспучивающиеся покрытие ОФП- МВ |
Вспучивающиеся покрытие ОЗС-МВ |
||||
|
Предел огнест., мин |
45 |
150 |
45 |
150 |
45 |
150 |
45 |
120 |
|
Площадь поверхн 1м, м2 |
1,774 |
1,774 |
1,774 |
1,774 |
1,774 |
1,774 |
1,774 |
1,774 |
|
Толщ. мат, м |
0,025 |
0,06 |
0,015 |
0,05 |
0,015 |
0,045 |
0,008 |
0,032 |
|
Объём нанес. мат., м3 |
0,04435 |
0,10644 |
0,02661 |
0,0887 |
0,02661 |
0,07983 |
0,014192 |
0,056768 |
|
Плотность нанес. мат., кг/м3 |
1800 |
1800 |
500 |
500 |
300 |
300 |
1230 |
1230 |
|
Масса мат., кг |
79,83 |
191,592 |
13,305 |
44,35 |
7,983 |
23,949 |
17,45616 |
69,82464 |
По результатам расчета наибольшее значение перемещений в 24 метровой балке при обработке её цементно-песчаным раствором. Данный является экономичным, но возникающие прогибы превышают допустимый предел по действующим нормам [9]. При нанесении вспучивающегося покрытия ОЗС-МВ толщиной больше 8 мм сопряжено с риском возникновения избыточных деформаций. Для расчёта нужной толщины слоя в таком случае можно воспользоваться эмпирической зависимостью, представленной далее на графике (рис. 10).

Полученные результаты могут быть использованы в строительной практике при проектировании каркасов стальных конструкций и разработке мероприятий по их защите от огня.
1. Krahmal'nyy T.A., Evtushenko S.I. Defekty i povrezhdeniya metallicheskih kolonn proizvodstvennyh zdaniy // Stroitel'stvo i arhitektura (2021). Tom 9. Vypusk 2 (31) 2021. - S.11-15. DOI:https://doi.org/10.29039/2308-0191-2021-9-2-11-15
2. Krahmal'nyy T.A., Evtushenko S.I. Defekty i povrezhdeniya metallicheskih podkranovyh balok proizvodstvennyh zdaniy // Stroitel'stvo i arhitektura (2021). Tom 9. Vypusk 3 (32) 2021. - S. 11-15. DOI:https://doi.org/10.29039/2308-0191-2021-9-3-11-15
3. Federal'nyy zakon Rossiyskoy Federacii ot 22 iyulya 2008 g. № 123-FZ «Tehnicheskiy reglament o trebovaniyah pozharnoy bezopasnosti».
4. Federal'nyy zakon Rossiyskoy Federacii ot 30 dekabrya 2009 g. № 384-FZ «Tehnicheskiy reglament o bezopasnosti zdaniy i sooruzheniy».
5. Metallicheskie konstrukcii v gidrotehnike: ucheb. izdanie / I.I. Koshin [i dr.]. - M.: ASV, 2002 S. 192
6. Golovanov V.I., Pehotikov A.V., Pavlov V.V. Obzor rynka sredstv ognezaschity metallokonstrukciy. Preimuschestva i nedostatki razlichnyh vidov - M.: Materialy Vserossiyskoy nauchno-prakticheskoy konferencii «Ognezaschita XXI veka» - 2014. S. 50.
7. Golovanov V.I., Pehotikov A.V., Pavlov V.V. Novye ognezaschitnye oblicovki dlya nesuschih stal'nyh konstrukciy - M.: Materialy XX nauchno-prakticheskoy konferen-cii, «Istoricheskie i sovremennye aspekty resheniya problem goreniya, tusheniya i obespecheniya bezopasnosti lyudey pri pozharah», VNIIPO, 2007 g., S. 227229. S. 87.
8. Damage to the Vertical Braces of Industrial Buildings / T A Krahmalny and S I Evtushenko // IOP Conf. Series: Materials Science and Engineering 1079 (2021) 052086 DOI:https://doi.org/10.1088/1757-899X/1079/5/052086
9. Plevkov V.S., Mal'ganov A.I., Polischuk A.I. Vosstanovlenie i usilenie stroitel'nyh konstrukciy avariynyh i rekonstruiruemyh zdaniy. - 1990.
10. SP 54.13330.2011 Zdaniya zhilye mnogokvartirnye
11. SP 16.13330.2011 Stal'nye konstrukcii
12. SP 70.13330.2012 Nesuschie i ograzhdayuschie konstrukcii
13. GOST 27751-2014 Nadezhnost' stroitel'nyh konstrukciy i osnovaniy. Osnovnye polozheniya.
14. SP 2.13130.2012 «Sistemy protivopozharnoy zaschity. Obespechenie ognestoykosti ob'ektov zaschity».
15. GOST 8239-89 «Dvutavry stal'nye goryachekatanye. Sortament».
16. Metodicheskoe posobie po uchetu teplo-ognezaschity v raschetah ognestoykosti zhelezobetonnyh konstrukciy. OAO NIC «Stroitel'stvo», 2013 g.




