с 01.01.2019 по настоящее время
Южно-Российский государственный политехнический университет (НПИ) имени М.И. Платова (Общеинженерные дисциплины, профессор)
с 01.01.1980 по 01.01.2019
г. Москва и Московская область, Россия
Новочеркасск, Ростовская область, Россия
Новочеркасск, Ростовская область, Россия
Санкт-Петербург, г. Санкт-Петербург и Ленинградская область, Россия
УДК 004.41 Программотехника. Разработка вычислительных систем
В статье поднята проблема необходимости разработки специализированного программного обеспечения для работы спектрально акустического метода по контролю запыленности в строительстве. Определено общее видение программы, сформулированы основные функциональные требования и выполнена разработка программной архитектуры системы. Полученная система представляет собой десктопное многооконное приложение для операционной системы Windows и реализует ряд операций, упрощающих работу с спектрально акустическим методом. Так система может получать на вход звуковой файл сигнала, выводить визуализацию данного сигнала на экран и производить разложение в спектр Фурье. После чего пользователь может после ряда дополнительных настроек получить модальный спектр гармоник на основе ряда Фурье и вывести полученные данные на экран или в файл. Текущий проект, после уточнений позволяет переходить непосредственно к разработке программного продукта для обеспечения выполнения серии тарировочных экспериментов с применением вышеуказанного метода.
безопасность труда, акустический метод, быстрое преобразование Фурье, частотный спектр, проектирование архитектуры приложения, клиент-серверное приложение
Введение
Многие производства являются источниками промышленной пыли, оказывающей негативное влияние как на здоровье человека и экологию в целом, так и значительно понижающей срок службы различных механизмов и аппаратуры.
Влияние пыли на организм человека, разумеется, зависит от самой пыли, однако в любом случае оно будет негативным. Так, при постоянном контакте с пылью у человека может развиваться целый спектр различных лёгочных болезней – фиброзы лёгких, бронхиты, пневмония, астма, поражения слизистой и кожи. В некоторых случаях пыль может так же быть фактором возникновения злокачественных опухолей. [1,2]
Разумеется, это должно учитываться на производствах, поэтому допустимые концентрации вредных веществ в воздухе изучены и законодательно определены. [3]
Для контроля эффективности работы пылеочистных устройств, которые борются с промышленной пылью, используются методы определения дисперсного состава пыли, такие как, например, спектрально акустический метод.
Данный метод использует в своей основе принципы акустической эмиссии и использование преобразования Фурье с дальнейшим формированием каталога тембровых гармоник, уникальных для каждой фракции пыли. [4,5]
Однако имеющиеся программные комплексы для обеспечения работы данного метода представляют собой тестовые образцы, и им не хватает значительной части требуемого функционала, а так же комфортного взаимодействия с конечным пользователем.
Поэтому было решено на основе имеющихся наработок выполнить проектирование собственной программной системы, удовлетворяющей вышеописанным требованиям.
Объекты и методы исследования
Система представляет собой приложение, позволяющее на основе входных данных – записанный цифровой сигнал шумов, издаваемых потоком пыли при соприкосновении с датчиком и стенками вентиляции, путём использования вышеописанного метода определить фракционный состав пыли, и концентрации тех или иных фракций.
Система подразумевает решение двух различных, но связанных между собой задач – ряда экспериментальных замеров подготовленных образцов монофракций и непосредственно практическое применение на произвольной производственной пыли, используя для этого данные, полученные на первом этапе [6].
В результате работы программы пользователю демонстрируется отображение состава и исходных звуковых спектров как в виде графиков, так и текстовым отчётом [7].
На основе видения проекта, и исходя из выполняемой им задачи, был сформулирован ряд требований к функционалу. В системе должны быть реализованы следующие основные функции:
1. Пользователь может загружать звуковой файл (формата wav) в систему для анализа
2. Пользователь может запускать считывание информации с датчика в реальном времени
3. Должна быть возможность устанавливать настройки обработки сигнала. Например:
a. Тип обрабатываемого образца (цементная, асбестовая, угольная пыль и т.д.)
b. Количество вычисляемых гармоник в образце
c. Диапазон поиска модальной гармоники (Гц)
4. Система должна обработать полученный из файла\онлайн сигнал и сформировать из него спектр Фурье.
5. На основе полученного спектра система выделяет основные и тембровые гармоники согласно заданным параметрам
6. Используя базу данных эталонных гармоник, система определяет дисперсный состав пыли, чей сигнал был получен в качестве входного.
7. Возможность получить структурированную информацию об исследовании в виде отчёта.
8. Возможность сохранить полученный отчёт в отдельный файл формата pdf.
9. Возможность распечатать сформированный отчёт.
Результаты исследований
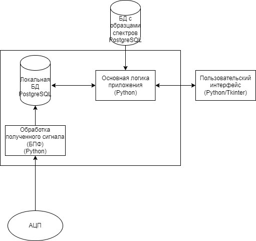
Разрабатываемая система является клиент-серверной с толстым клиентом – основная бизнес-логика выполняется именно на нём, а сервер представляет собой хранилище данных, при помощи которых производится классификация спектров и определение дисперсного состава пыли. Так же присутствует локальная база данных, в которой хранятся данные о актуальных замерах, а также локальная информация о предприятии и пользователях. Это связано в первую очередь с предназначением программы – она разрабатывается для применения на различных промышленных предприятиях, т.е. взаимодействия между конечными пользователями не подразумевается, так же не подразумевается какая-либо мобильность рабочих станций.
Так же, учитывая относительно небольшой объём функционала приложения, было решено использовать монолитную концепцию приложения – нет смысла плодить сущностей, это лишь дополнительно усложнит текущую систему.
Таким образом, разрабатываемое приложение подразумевает наличие следующих частей:
- пользовательский интерфейс;
- подсистема, выполняющую основную логику приложения (математические преобразования и определение дисперсного состава на основе подспектров);
- локальная БД рабочих данных (тех, которые получены в результате измерений);
- БД ‘эталонных данных’ – обучающая выборка, на основе которой происходит классификация рабочих данных.
Для реализации пользовательского интерфейса и, в первую очередь, подсистемы, обеспечивающей основную логику приложения, будет использован язык Python, как наиболее подходящий для выполнения сложных математических преобразований и работы в сфере машинного обучения. [8]
Модель архитектуры программной системы для определения дисперсного состава пыли представлена на рис. 1:

Рис. 1. Модель архитектуры программной системы
Учитывая особенности конечных пользователей и специфику приложения, не предполагается большого количества пользователей и установок программы.
Так же, беря во внимание специфичность и утилитарность основного функционала программы, как и отсутствие хранимых конфиденциальных данных в самой программе, было решено отказаться от механизмов аутентификации и авторизации. Т.е. доступ к утилите будет свободным и его ограничения будут основаны на ограничениях доступа к рабочей станции в рамках политики предприятия.
Обработка исключений, перехват ошибок, и установка граничных значений является важным элементом проектируемой системы, учитывая тот факт, что большая часть действий это математические операции, которые требуют определённого уровня точности. Однако граничные условия должны учитывать тот факт, что система может быть предназначена для анализа различных типов пыли, поэтому не имеет смысла делать слишком жёсткие условия.
Впрочем, это не отменяет проработанной системы обработки ошибок связанных с графическим интерфейсом, запросами к БД и другими.
Как уже говорилось выше, приложение предполагается монолитным, поэтому особого разделение не предусмотрено. Однако стоит обратить внимание на то, что основной блок приложения, реализующий методологию (математические операции, разложение по БПФ, представление в виде спектров и вывод результатов на экран) в целом остаётся неизменным, но получение сигнала через АЦП может отличаться в зависимости от установленной аппаратуры на предприятии. Т.е. можно сказать, что именно сама программа и будет той «компонентой», которая может быть использована в различных системах пылеучёта.
Выводы
Предложенный в тексте статьи проект программного обеспечения позволит реализовать практическое применение спектрально акустического метода. В первую очередь разрабатываемая система предполагает применение в лабораторных условиях, в серии тарировочных экспериментов. Такое применение позволит наработать базу эталонных гармоник для реализации второго этапа метода, а также уточнить требования к разрабатываемой системе, что, в свою очередь обеспечит более качественный продукт при разработке системы уже для производств строительных материалов.
Дальнейшие действия подразумевают уточнение технического задания и разработку программного прототипа, который будет дополнением к измерительному комплексу метода и уже на практике позволит вести работу по анализу пылевого потока.
1. Производственная пыль [Электронный ресурс] - 2021 - URL: http://prom-nadzor.ru/content/proizvodstvennaya-pyl (дата обращения - 28.05.2023)
2. Фролов А.В., Лепихова В.А., Ляшенко Н.В., Шевченко Н.С. Безопасность жизнедеятельности и охрана труда в строительстве. Учебник для вузов / Под общей ред. А.В. Фролова. Москва, 2018. - 586 с. EDN: https://elibrary.ru/XSBTFP
3. ГОСТ 12.1.005-88 - Межгосударственный стандарт “Система стандартов безопасности труда” Общие санитарно-гигиенические требования к воздуху рабочей зоны.
4. Ахмед Н., Рао К.Р. Ортогональные преобразования при обработке цифровых сигналов. - М.: Связь, 1980. - 248 с.
5. В.А. Лепихова Метод неразрушающего контроля дисперсных систем пылеочистительных устройств. - Юж.-Рос. гос. политехн. ун-т (НПИ) им. М.И. Платова. - Новочеркасск: ЮРГПУ (НПИ), 2018. - С. 32-36. EDN: https://elibrary.ru/UUASVC
6. Евтушенко С.И., Лепихова В.А., Ляшенко А.Г., Рябоус А.Ю. Особенности акустического сигнала в непрерывном контроле запыленности при производстве строительных материалов. Строительство и архитектура. - 2022. - Т. 10, № 4. - С. 116-120. DOI: https://doi.org/10.29039/2308-0191-2022-10-4-116-120; EDN: https://elibrary.ru/MHNZMA
7. Осипов Н.А., Рябоус А.Ю., Лепихова В.А., Евтушенко С.И. Диагностика дисперсности пылевых потоков по сигналам акустической эмиссии при строительных работах. Строительство и архитектура. 2022. Т. 10. № 3. С. 51-55. DOI: https://doi.org/10.29039/2308-0191-2022-10-3-51-55; EDN: https://elibrary.ru/TDXTIB
8. Python 3.11.3 documentation [Электронный ресурс] - 2023 - URL: https://docs.python.org/3/index.html (дата обращения - 28.05.2023)
9. Evtushenko S.I., Lepikhova V.A., Lyashenko N.V., Skrinnikov E.V. Identification of soils, grounds and lands strata using the acoustic spectral analysis // IOP Conference Series: Materials Science and Engineering. Construction and Architecture: Theory and Practice of Innovative Development" (CATPID-2020). 2020. С. 052043.




